֮ǰ£¬ÎÒÃÇÑо¿ÁËͨ¹ý¿ìËÙÁ÷¶¯µÄË®¡¢ÕôÆû¡¢È¼Æø¡¢·ç»òÆäËûÁ÷Ìå²úÉúÁ¬Ðø¶¯Á¦µÄ͸ƽ»ú¡£ÔÚ±¾ÖܵĹØÓÚҶƬϵÁÐרÌâÖУ¬ÎÒÃǽ«Ò»ÆðÀ´Ì½Ë÷Ò»ÏÂ×°ÓÐҶƬµÄת×Ó²¿¼þ£¬ÒÔ¼°ËüÊÇÈçºÎ×é×°µÄ¡£Ò¶Æ¬µÄÒ¶¸ù¡¢Ò¶¹ÚºÍÒ¶Ð͵ÄÐÎ×´ºÍ½á¹¹È¡¾öÓÚËü±»Ó¦ÓÃÔÚÄÄÀï(ÀýÈçÆûÂÖ»ú¡¢È¼ÆøÂÖ»ú»òÑ¹Æø»ú) £¬µ«±¾ÖÊÉÏÀ´Ëµ£¬ËüÃǵŦÄÜÊÇÏàͬµÄ¡£
					
						 
					
						ҶƬµÄÐÎ×´ÓÉÈÈÁ¦Ñ§ºÍÁ¦Ñ§±ß½çÌõ¼þ¾ö¶¨£¬ÕâЩÌõ¼þ¸ù¾ÝҶƬËù´¦µÄ»·¾³ºÍÓ¦Óó¡ºÏµÄ²»Í¬¶øÓкܴóµÄ±ä»¯¡£
				
			
		
	
	
		
		
			
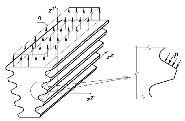
				HE LOAD HAS A HEAVY IMPACT
			
				ÔØºÉÄÜÁ¦µÄÓ°ÏìºÜ´ó
		
	
	
		
		
			
				ҶƬ³ÐÊܵÄÔØºÉÒ²¾ö¶¨ÁËҶƬµÄÉè¼Æ¡£
			
				* ÀëÐÄÁ¦¡¢Å¤¾ØºÍÍäÇúÁ¦(¿ÕÆø×èÁ¦ÐÎʽ) µÈÐÎʽµÄ¾²Ì¬ÔغÉÒÔ¼°Ô˶¯Ò¶Æ¬µÄ¶¯Ì¬Ôغɡ£
			
				ÆäËüÒòËØ£¬ÈçҶƬÉ쳤(ÓÉÓÚÈÈ) £¬¸ßΡ¢ÇÖÊ´¡¢£¬¸¯Ê´ºÍÑõ»¯Ò²½«¾ö¶¨Éè¼Æ¡£
			
				 
		
		
	
	
		
		
			
				 NFLUENCES ON THE DESIGN PROCESS
			
				¶ÔÉè¼Æ¹ý³ÌµÄÓ°Ïì
		
	
	
		
		
			
				
					
						
						
							
								
									Ê×ÏÈ£¬ËùÓеÄÉè¼Æ¶¼ÊÇΪÁËÈ·±£²úÆ··ûºÏ¹æ¸ñ£¬µ«ÒÔ×î¾ß³É±¾Ð§ÒæµÄ·½Ê½À´Éú²ú£¬Í¬Ê±´ïµ½×îÉÙµÄÀ˷ѺÍ×î´óµÄÐÔÄÜ¡£Ò¶¸ù£¬Ò¶¹ÚºÍÒ¶Ð͵ÄÉè¼Æ½«È¡¾öÓÚҶƬËù´¦µÄ»·¾³Ìõ¼þ¡£
								
									 
								
									¸ß¡¢ÖС¢µÍѹµÄÓ¦Óþö¶¨ÁËҶƬ³ß´çºÍ²ÄÁϵÄÑ¡Ôñ¡£ÀýÈ磬¶ÔÓÚ¸ßѹ͸ƽ»ú£¬ÓÉÓÚ´¦ÔÚ¸ßθßѹµÄ»·¾³£¬Ò¶Æ¬ÍùÍù¸üС¡£Ëü»¹ÐèÒªÄÍÈȲÄÁÏ£¬ÈçÄø»ù¸ßκϽð¡£ËäÈ»µÍѹ͸ƽ»ú¾ßÓнϵ͵Äζȣ¬Ò¶Æ¬ÍùÍùÌØ±ð³¤£¬²¢ÓÉÆÕͨ²»Ðâ¸ÖÄÍÈȲÄÁÏÖÆ³É¡£µ«ÓÉÓÚҶƬ»úе¸ººÉ´ó£¬¸ßתËÙÏÂҶƬÖÊÁ¿´ó£¬²úÉúÁ˽ϴóµÄÀëÐÄÁ¦ºÍ»úе¸ººÉ£¬´Ó¶øµ¼ÖÂÒ¶¸ù¸ü¼Ó¸´ÔÓ£¬°²È«ÐÔÒªÇóºÜ¸ß¡£
							
						
					
				
			
		
	
	
	
		
		
			
				 OOT, SHROUD, AND AIRFOIL
			
				 Ò¶¸ù£¬Ò¶¹ÚºÍÒ¶ÐÍ
		
	
	
		
		
			
			
				 
			
				
					
					
						
							
								
									Ò¶¸ù¸ºÔð½«×ª×ÓҶƬ°²×°µ½×ª×ÓÉÏ£¬Èç¹ûÊǾ²×ÓҶƬ£¬Ôò°²×°µ½»úÏ»ÉÏ¡£Í¨¹ý½«¾²×ÓҶƬ/ת×ÓҶƬÏàÁÚ°²×°£¬¿ÉÒԵõ½Ò»¸öÓɾ²×ÓҶƬºÍת×ÓҶƬ×é³ÉµÄÒ»¸ö´óµÄÔ²ÐΣ¬²¢Óëͨ¹ýÎÐÂÖ»ú»òѹËõ»úµÄ¿ÕÆøÏ໥×÷Óá£Ò¶¸ùµÄÐÎ×´È¡¾öÓÚÈÈÁ¦Ñ§ºÍ»úе¸ººÉ£¬Ëü½«ÐèÒª³ÐÊÜÒ»¶Îʱ¼äÒÔÉÏ¿¼Ñé¡£Éè¼Æ¹¤³Ìʦ±ØÐë½µµÍÖÆÔì³É±¾£¬Í¬Ê±Ìá¸ßÐÔÄÜ¡£¸ü¸´ÔÓµÄÒ¶¸ùÉè¼ÆÒâζןü¸ßµÄ°²È«µÈ¼¶£¬ÒòÎªÔØºÉ½«³Ðµ£¸ü¶à£¬µ«ÕâÒ²Òâζןü¸ßµÄÖÆÔì³É±¾£¬ÒòΪҶ¸ùµÄÐÎ×´ÔÚÖÆÔì¹ý³ÌÖÐÐèÒª¸ü¸ßÒªÇóµÄ¾«¶ÈºÍ¹¤¾ßÒÔ¼°¼¼Êõ¡£
							
						
					
				
			
			
			
				ת×ÓҶƬ/¾²×ÓҶƬÓëת×Ó/»úÏ»µÄÁ¬½Óͨ³£ÊÇͨ¹ýÐÎ×´ÅäºÏ»òº¸½ÓÁ¬½Ó¶ø½¨Á¢µÄ
		
	
	
	
		Ò¶¹ÚµÄÖ÷ҪĿµÄÊÇͨ¹ýÏàÁÚÒ¶¹ÚÖ®¼äËÉÉ¢µÄÁ¬½ÓÀ´Îȶ¨×ª×ÓҶƬ/¾²×ÓҶƬ¡£×°ÅäÍê³Éºó£¬Õâ¸ö±ÕºÏµÄÒ¶¹ÚµÄ»·ÐνµµÍÁËÈÆ¹ýÒ¶ÐÍµÄÆøÌå»ò¿ÕÆøµÄÁ÷¶¯Ð¹Â©¡£´ËÍ⣬ÔÚÒ¶¹ÚµÄ¶¥²¿¿ÉÒÔÓÐÒ»¸öÃÔ¹¬Ê½µÄÉè¼Æ£¬ÒÔ½øÒ»²½¼õÉÙй©¡£ÎªÁËÔö¼ÓÒ¶¹ÚÖ®¼äµÄÎȶ¨ÐÔ£¬ËüÃÇ¿ÉÒÔÓÃÁ¬ËøµÄ¼¸ºÎÌØÕ÷Ï໥Á¬½Ó¡£
	
		µ±Îȶ¨ÐÔºÍÆøÃÜÐÔ²»ÊÇÐÔÄܵÄÒ»¸öÓ°ÏìÒòËØÊ±£¬ÉÏÊöÌØÐÔ²¢·Ç±ØÒª
	
		 
	
		Ò¶ÐÍÊÇÓë¾¹ýµÄÆøÌå»òÕôÆû»òÁ÷ÌåÏ໥×÷ÓõIJ¿·Ö¡£Í¸Æ½Ò¶Æ¬Ò¶Ð͵Ä×÷ÓÃÊǽ«ÆøÌåµÄ²¿·ÖÄÜÁ¿×ª»¯Îª×ª×ÓµÄÐýת¡£¶ÔÓÚÑ¹Æø»úҶƬÀ´Ëµ£¬×ª×ÓµÄÇ¿ÖÆÐýת(ͨ¹ý·¢¶¯»ú)µ¼ÖÂ¿ÕÆø±»ÎüÈë²¢±»¶à¼¶Ò¶Æ¬Ñ¹Ëõ¡£Òò´Ë£¬Ñ¹Æø»úÊÇÒÔ±£ÁôµÄ¹¤×÷ÔÀíÀ´¹¤×÷¡£
	
		.png)
	
		¾²×ÓҶƬҶÐÍ(ÎÐÂÖ»ú»òÑ¹Æø»ú)µÄ×÷ÓÃÊÇÊ¹ÆøÁ÷ÒÔÀíÏëµÄ½Ç¶È¸Ä±ä·½Ïò£¬ÒÔ±ãÓëÏÂÒ»¸öҶƬÏ໥×÷Óá£Õâ¶ÔÓÚÓÅ»¯ÐÔÄܺÍ×î´óÏ޶ȵØÀûÓÃÆøÌå·Ç³£ÖØÒª¡£×ª×ÓҶƬºÍ¾²×ÓҶƬµÄÒ¶ÐÍÆÊÃæ¶¼ÏÔʾ³öÒ»¸öǰԵ¡¢ºóÔµ£¬ÕâÊÇÒ»¸öÎüÈë²àºÍѹÁ¦²à¡£Ç°ÔµÊÇÆøÁ÷½øÈëÆÊÃæµÄλÖ㬶øºóÔµÊÇÆøÁ÷À뿪ÆÊÃæµÄλÖá£ÕâЩÏàÁÚµÄҶƬ½¨Á¢ÁËÆøÁ÷ͨµÀ£¬ÆøÁ÷ͨ¹ý»úÏ»²¢°´ÕÕÆäÉè¼ÆµÄ·½Ê½ÔËÐС£
	
		 
	
		.png)
	
		 
	
		
		 
	
		Ò¶ÐÍÂÖÀª´ÓǰԵµ½ºóÔµÍäÇú£¬ÒÔÈ·±£ÆøÁ÷ÒÔÌØ¶¨·½Ïò½øÈëÂÖÀª²¢ÔÚͨµÀÄÚÖØÐ¶¨ÏòʹÆäÒÔËùÆÚÍûµÄ·½Ê½Ï໥×÷Óò¢´ÓÁíÒ»¸ö·½ÏòÀ뿪ÂÖÀª¡£Ò¶ÐÍÂÖÀªµÄÈë¿ÚºÍ³ö¿Ú½Ç¶È±ØÐëÓëÆøÁ÷·½Ïòͬ²½£¬ÒÔ¾¡¿ÉÄÜ´ïµ½¸ßЧ¡£ÎüÈë²àºÍѹÁ¦²àÖ®¼äµÄÉè¼Æ±ØÐ뾡¿ÉÄÜÆ½»¬ºÍ¾ùÔÈ£¬ÒÔÂú×ã¸ßЧÂÊÒªÇó¡£ 
	
		 
	
		¸ù¾Ý¾Ö²¿±ß½çÌõ¼þ£¨ÓÈÆäÊÇÁ÷ËÙ£©£¬Ò¶Ð͵ÄÂÖÀª´ÓÒ¶¸ùµ½Ò¶¹ÚÊDz»¶ÏÔڱ仯×ŵġ£Õâ¾Íµ¼ÖÂÒ¶ÐÍÐÎ×´µÄÁ¬Ðø±ä»¯ÒÔ¼°´ÓÒ¶¸ùµ½Ò¶¹ÚµÄÇãбºÍŤÇú¡£
	
		 
	
		.jpg)
	
		ҶƬµÄ¾ßÌå°ë¾¶¡¢ÐÎ×´¡¢³¤¶ÈºÍºñ¶ÈÊÇͨ¹ý¸´ÔÓµÄÄ£ÄâÈí¼þÈ·¶¨µÄ£¬¸ÃÈí¼þ¿É¼ÆËãËÙ¶È¡¢Î¶ȡ¢Ñ¹Á¦£¬²¢¼õÉÙҶƬÔÚ±ØÐë·¢»Ó×î¼ÑÐÔÄܵÄÁìÓòÉϵÄȱÏÝ¡£
	
		 
	
		ÕâЩ¼¸ºÎÔªËØ±ØÐëÔÚ¸ßÐÔÄÜˮƽµÄÉ豸»òƽ̨ÉϽøÐÐÉè¼Æ¡¢ÖÆÔìºÍ²âÁ¿£¬ÒÔÆ¥Åä×î¸ßµÈ¼¶µÄЧÂÊÒÔ¼°Î´À´µÄ¸Ä½ø¡£ÔÚÈ·¶¨Ê²Ã´ÊÇ×î¼ÑÐÔÄÜÉè¼ÆÒÔ¼°ÔÚÄÄÀï¸Ä½øÉè¼Æ·½Ãæ²âÁ¿°çÑÝ×ÅÖØÒªµÄ×÷Óá£
	
	
		
		
			
				
					
						
						
							
								¿ìËÙ¹âѧ²âÁ¿£¬ÓëÉú²ú½ÚÅÄͬ²½
						
					
				
			
			
				ÖÊÁ¿¿ØÖƺÍÖÊÁ¿±£Ö¤ÊÇÈ·±£°²È«µÄÖØÒª×é³É²¿·Ö¡£×îºó£¬ÎÒÃÇÀ´¿´Ò»ÏÂʹÓÃÎÂÔóµÄCORE DÉ豸À´²âÁ¿Ò¶Æ¬£¬¸ÃÉ豸ÊÊÓÃÓÚ¸ü¸ßЧµÄҶƬ²âÁ¿¡£ÌرðÊÇÔÚº½¿ÕÁìÓò£¬Ò¶Æ¬µÄǰԵ·Ç³£±¡¡£CORE µÄ¹âµã¿ÉÒÔ²âÁ¿·Ç³£Ð¡µÄ°ë¾¶£¬²¢¼ì²âµ½×îСµÄȱÏÝ¡£ÕâÒ²ÊÊÓÃÓÚÒ½ÁÆÆ÷ÐµÖÆÔìÒµ£¬ÖÚËùÖÜÖª£¬Ò½ÁÆÆ÷еµÄÁã¼þ´í×Û¸´ÔÓ¡£
			
				 
			
				ÓëÆäËü¹âѧϵͳ²»Í¬£¬CORE¿ÉÒÔÖ±½Ó²âÁ¿Å×¹âºÍ¸ß·´¹â±íÃæ³ÉÆ·µÄÁã¼þ£¬ÎÞÐ轫ÆäÅç°×¡£ÕâÖÖÍêÈ«¼¯³ÉµÄ¹âѧ²âÍ·ÌṩÁË¿ìËÙ¼ì²â¸´ÔÓ¼¸ºÎÁã¼þËùÐèµÄÁé»îÐԺͲâÁ¿ÄÜÁ¦¡£CORE ×ÅÑÛÓÚÔÚÖÆÔì³µ¼äÖ±½Ó½øÐвâÁ¿¡£COREµÄ½á¹¹½øÐÐÁËÓÐÏÞÔªÓÅ»¯Éè¼Æ¡£Ö±Ïßµ¼¹ì-¿íÖá³ÐʹÆä¼´Ê¹ÔÚ18° – 30°C µÄÉú²ú»·¾³ÖУ¬Ò²ÄÜÈ·±£½Ï³¤µÄʹÓÃÊÙÃüºÍÎȶ¨µÄÔËÐС£
			
				
					
						
						
							
							
							
								.jpg)
							
								¡ø
							
								ÒÔ¸ü¿ìµÄËٶȲâÁ¿¸ü¶àµÄ×é¼þÊÇÎÂÔóÈý×ø±ê²âÁ¿»úµÄʹÃü
							
								 
							
								Ò»Ìåʽ¡¢¸ß·Ö±æÂÊ¡¢Ö±½ÓÇý¶¯µÄת̨Ϊ²âÍ·Ìṩͬ²½µÄ²¿¼þ¶¨Î»£¬Í¨¹ýÍêÕûµÄ 5 Öáͬ²½Ô˶¯½øÒ»²½ÓÅ»¯Á˼ì²âÖÜÆÚ¡£Õû¸öÁã¼þ±íÃæµÄ×î´óɨÃèËٶȸߴï 400 ºÁÃ×/Ãë¡£CORE µÄÐг̷¶Î§Îª 300 x 200 x 450 mm£¬²¢Õë¶Ô͸ƽҶƬ¡¢Íâ¿ÆÖ²ÈëÎïºÍÆäËüСÐÍÁã¼þµÄ´óÅúÁ¿ÖÊÁ¿¿ØÖƵIJâÁ¿½øÐÐÁË×îÓÅ»¯¡£
						
					
				
			
			
				* ¾²Ì¬ºÍ¶¯Ì¬ÖØÁ¿£ºµ±Äú×ßÏòÍ£·ÅÔÚÔÓ»õµêǰµÄÆû³µÊ±£¬Ëü±»¶¨ÒåΪ¾²Ì¬ÖØÁ¿£¬µ«µ±Äú½øÈëÆû³µ²¢¿ªÊ¼¼Ýʻʱ£¬Ëü¿ÉÒÔ±»¶¨ÒåΪµÀ·ÉϵÄÒ»¸ö¶¯Ì¬ÖØÁ¿µÄÀý×Ó¡£
			
				* ÈÈÁ¦Ñ§ºÍÁ¦Ñ§±ß½ç£ºËüÊÇָʹÆäÆð×÷ÓõÄÈȺͻúе»·¾³¡£¹¤×÷ζȡ¢Î¶ȱ仯¡¢Ñ¹Á¦¡¢Á¦¡¢Å¤¾ØµÈ¡£
			
				 
		
		
	
	
		¹ØÓÚÎÂÔó
	
		µÂ¹úÎÂÔó¼¯ÍÅÊǼÆÁ¿ÁìÓò´´ÐµÄÏÈÇý¡£ÎÂÔó¶àÑù»¯µÄ²úÆ·ÌṩÁËÈýά²âÁ¿¡¢¼ÆËã»ú¶Ï²ãɨÃè¡¢¹âѧ¸ßËÙɨÃèµÈ¶à¸öÐÐÒµµÄ¶ÀÌØ½â¾ö·½°¸¡£ÎÂÔó¼¯Íŵļ¼Êõ½â¾ö·½°¸ÔÚÆû³µ¡¢º½¿Õº½Ìì¡¢·¢µç¼°Ò½ÁƵÈÖÚ¶àÐÐÒµÖÐÓдóÁ¿Ó¦Óá£ÎÂÔóÔÚÈ«Çò·¶Î§ÄÚÒѽ»¸¶°²×°³¬¹ý10,000̨²âÁ¿É豸¡£Æä×Ó¹«Ë¾ºÍÒµÎñ»ï°éÔÚ³¬¹ý50¸ö¹ú¼ÒÏúÊÛ²úÆ·£¬²¢ÌṩÊÛºó·þÎñÒÔÂú×ã¿Í»§ÐèÇó¡£
	
		
			
				
				
					
						
							ɨÂë¹Ø×¢ÎÒÃÇ
						
							²é¿´¸ü¶à¾«²ÊÄÚÈÝ